Код товара: 14-62356








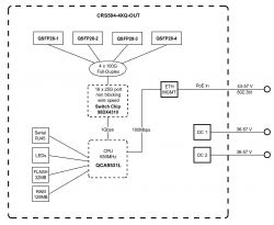
Коммутатор MikroTik CRS504-4XQ-OUT - доступная, компактная и энергоэффективная сеть со скоростью 100 Гбит/с в любое время и в любом месте! Всепогодный корпус IP66, 4 порта 100 Gigabit, несколько вариантов питания. Должна ли высококачественная 100-гигабитная связь быть ограничена только внутри помещений? Точно нет! CRS504-4XQ-OUT: универсальный, экономичный, сверхбыстрый атмосферостойкий коммутатор для всех ваших потребностей вне помещений. В основе этого шедевра лежит невероятный чип-переключатель Marvell Prestera. И есть четыре 100-гигабитных порта QSFP28. Используйте их для подключения других 100-гигабитных устройств или возьмите соединительный кабель для подключения нескольких 25-гигабитных устройств. Вот где чип скоростного коммутатора действительно проявляет себя: каждый порт подключен к четырем 25-гигабитным линиям. Это означает, что пользователь получает до 16 высокоскоростных оптоволоконных интерфейсов от одного наружного коммутатора!
| Основное | |
| Тип: | Коммутатор |
| Порты: | 1 консольный порт RJ45, Fast Ethernet (1), 4 х 100G QSFP28 |
| Тип коммутатора: | управляемый |
| Процессор: | QCA9531 |
| Количество ядер процессора: | 1 |
| Номинальная частота процессора, ГГц: | 0.65 |
| Производительность | |
| Flash-память: | 32 Мб |
| Максимальная потребляемая мощность: | 35 Вт |
| RAM-память: | 128 Мб |
| Функционал | |
| Поддержка PoE: | 1 |
| Дополнительно | |
| Операционная система: | RouterOS |
| Дополнительные возможности: | Степень защиты IP66 |
| Особенности: | Обменная способность: 800 Gbps |
| Физические | |
| Питание: | 48В 0.95A адаптер; PoE in 802.3 bt |
| Габариты, мм: | 330 x 200 x 70 |
| Упаковка: | |
| Ширина: | 23 см |
| Высота: | 10 см |
| Глубина: | 42 см |
* Характеристики и комплектация товара могут изменяться производителем без уведомления
* Внешний вид товара может отличаться от оригинала
Есть в наличии
Заказать в одно нажатие
Менеджер перезвонит вам, уточнит детали.
Гарантия
12 месяцев
Обмен/возврат неактивированного товара надлежащего качества в течение 14 дней. Срок гарантии уточняйте у менеджера.Обмен/возврат неактивированного товара надлежащего качества в течение 14 дней. Срок гарантии уточняйте у менеджера.
12 месяцевДоставка
Доставка товара по территории Украины осуществляется с помощью транспортных компаний: "Новая почта".
Получение покупки
При наличии претензий к внешнему виду и комплектности товара вы можете отказаться от его получения.
Оплата
Наличными при получении;
Безналичный без НДС;
Наложенный платёж;
Оплата на карту ПриватБанка;
Оплата на карту Монобанка;
Оплата онлайн через LiqPay;
Купить в кредит Коммутатор MikroTik Cloud Router Switch CRS504-4XQ-OUT CRS504-4XQ-OUT
Цена: 31852 грн.
Кредит от Sense Bank
Любой товар в кредит от Sense Bank прямо сейчас!
Как воспользоваться услугой:
1. Выбрать на сайте интересующий товар;
2. На странице товара или уже в корзине покупателя оформить "Кредит Sense Bank";
3. Менеджер позвонит для подтверждения заказа и оформления услуги;
4. Получить уведомление в удобный мессенджер;
5. Пройти идентификацию в системе BankID (для клиентов всех банков);
6. Заполнить заявку и подтвердить договор – все через онлайн!
Преимущества "Кредита на товар" от Sense Bank:
Отсутствие бумажных документов;
Сумма кредита от 1000 грн до 150 000 грн;
Для клиентов от 21 до 70 лет;
Получите договор на электронную почту.
Sense Bank – все просто!
Максимальная сумма кредита – до 150 000 грн. сроком до 24 мес.
Реальная годовая процентная ставка: от 0,01% до 480,7%
АО «Сенс Банк». В Государственном реестре банков №158. Лицензия НБУ №61 от 01.12.2022
Мгновенная рассрочка "ПриватБанк"
Условия оформления:
Оформляй кредит по карте ПриватБанка!
«Мгновенная рассрочка» действует на весь ассортимент.
Максимальный срок кредитования – 24 мес.
Комиссия: 2,9% от суммы покупки
Для оформления рассрочки необходимо добавить товар в корзину и при оформлении заказа указать оплату в рассрочку и количество платежей:

Рассрочка онлайн "Плати Позже"
Нет отзывов